Описание
Характеристики
Отзывы
Описание
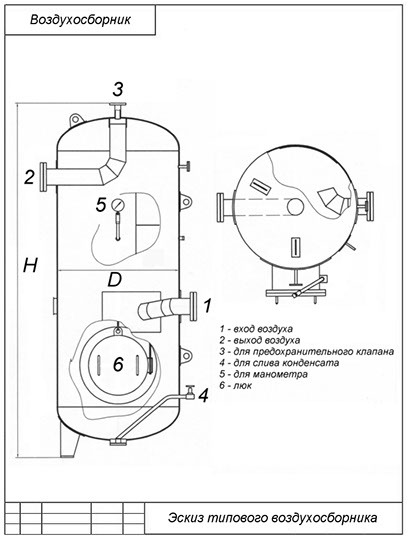
Воздухосборники В-0,5 объемом 500 литров и рабочим давлением 10 бар. Могут использоваться как резервуары для воздуха, или, при согласовании с разработчиком, для некоторых инертных газов. Выпускаются в вертикальном исполнении.
Характеристики
Рабочее давление, бар
10
Производитель
DNT
Масса, кг
295
Объем, литров
500
Тип расположения
вертикальный
Исполнение
для помещений
Высота, мм
2000
Рабочая температура
от -40 до +50
Материальное исполнение
09Г2С
Наружное покрытие
грунт ГФ-021
Отзывы
Отзывов еще никто не оставлял
