Описание
Характеристики
Отзывы
Описание
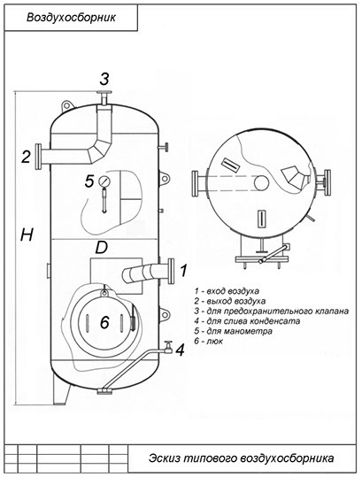
Воздухосборники В-0,5 объемом 500 литров и рабочим давлением 16 бар. Могут использоваться как резервуары для воздуха, или, при согласовании с разработчиком, для некоторых инертных газов. Выпускаются в вертикальном исполнении.
Характеристики
Рабочее давление, бар
16
Производитель
DNT
Масса, кг
295
Объем, литров
500
Тип расположения
вертикальный
Исполнение
для помещений
Высота, мм
2000
Материальное исполнение
09Г2С
Наружное покрытие
грунт ГФ-021
Отзывы
Отзывов еще никто не оставлял
