Описание
Характеристики
Отзывы
Описание
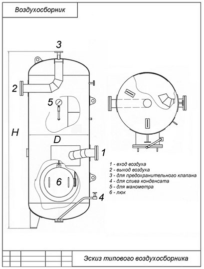
Воздухосборники DNT В-3,2объемом 3200 литров и рабочим давлением 8 бар. Могут использоваться как резервуары для воздуха, или, при согласовании с разработчиком, для некоторых инертных газов. Выпускаются в вертикальном исполнении.
Характеристики
Рабочее давление, бар
8
Производитель
DNT
Масса, кг
700
Диаметр, мм
1200
Объем, литров
3000
Тип расположения
вертикальный
Исполнение
для помещений
Высота, мм
3100
Рабочая температура
от -40 до +50
Материальное исполнение
09Г2С
Наружное покрытие
грунт ГФ-021
Отзывы
Отзывов еще никто не оставлял
