Описание
Характеристики
Отзывы
Описание
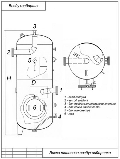
Воздухосборники DNT В-8,0объемом 8000 литров рабочим давлением 10 бар. Могут использоваться как резервуары для воздуха, или, при согласовании с разработчиком, для некоторых инертных газов. Выпускаются в вертикальном исполнении.
Характеристики
Рабочее давление, бар
10
Производитель
DNT
Масса, кг
1700
Диаметр, мм
1600
Объем, литров
8000
Тип расположения
вертикальный
Исполнение
для помещений
Высота, мм
4500
Рабочая температура
от -40 до +50
Материальное исполнение
09Г2С
Наружное покрытие
грунт ГФ-021
Отзывы
Отзывов еще никто не оставлял
